ОБЗОР МЕРОПРИЯТИЙ ПО УМЕНЬШЕНИЮ ВЫБРОСОВ ПРИМЕСЕЙ И ПАРНИКОВЫХ ГАЗОВ
Конференция: CCXCV Студенческая международная научно-практическая конференция «Молодежный научный форум»
Секция: Технические науки

CCXCV Студенческая международная научно-практическая конференция «Молодежный научный форум»
ОБЗОР МЕРОПРИЯТИЙ ПО УМЕНЬШЕНИЮ ВЫБРОСОВ ПРИМЕСЕЙ И ПАРНИКОВЫХ ГАЗОВ
MEASURES TO REDUCE EMISSIONS OF IMPURITIES AND GREENHOUSE GASES
Alena Dubovkina
Student, Department of Heat and Gas Supply and Ventilation, Institute of Construction and Architecture, Ural Federal University named after the First President of Russia B. N. Yeltsin, Russia, Yekaterinburg
Anastasia Gorbunova
Associate Professor, Candidate of Technical Sciences, Department of Heat and Gas Supply and Ventilation, Institute of Construction and Architecture, Ural Federal University named after the First President of Russia B. N. Yeltsin, Russia, Yekaterinburg
Аннотация. В статье приведены факторы, влияющие на качество воздушного бассейна. Рассмотрены виды пылеулавливающих устройств и очистки используемого воздуха для вентиляции.
Abstract. The article presents the factors influencing the quality of the air basin. The types of dust collecting devices and purification of the used air for ventilation are considered.
Ключевые слова: Оксид углерода, угарный газ, циклон, улавливание пыли.
Keywords: Carbon monoxide, carbon monoxide, cyclone, dust capture.
На данный момент актуальна проблема опережения темпов роста автомобилизации населения над обеспеченностью машин парковками. Автопарковки закрытого типа являются частью инфраструктуры многих мегаполисов. Задачами при проектировании вентиляции подземных автостоянок являются обеспечение нормативных параметров внутреннего воздуха и обеспечение пожаробезопасности.
В состав выхлопных газов автомобилей входит CО (оксид углерода), CO2 (углекислый газ), SO2 (сернистый газ), NO2 (оксид азота), бензапирен, свинец. Данные газы имеют негативное воздействие на организм и вызывают различные заболевания. Вредные вещества проникают в организм несколькими путями: кожные и слизистые покровы, через органы пищеварения, через верхние дыхательные пути. Наиболее опасный путь проникновения- верхние дыхательные пути, так как в этом случае всасывание токсинов происходит довольно интенсивно и затем попадают в кровь. [1]
Выделения из топливных баков автомобилей, представляющие собой широкий спектр различных предельных углеводородов, особенно заметны в безветренную погоду.
Твердые аэрозоли поступают в окружающую среду из выхлопных газов автотранспорта (сажа, оксиды), дымовых газов ТЭЦ и котельных, вентиляционных выбросов электрометаллургических предприятий (оксиды железа и других металлов). Жидкие аэрозоли образуются при контакте водяных паров атмосферы с газообразными выбросами щелочного и кислого характера, что может приводить к образованию микрокапельного (в основном кислотного) смога. Другими компонентами этого смога являются водно-капельные аэрозоли, образующиеся на скоростных автомагистралях при высокой интенсивности движения в дождливую погоду. [2]
Оксиды азота поступают в атмосферу городов в основном из промышленных вентиляционных выбросов электрометаллургических производств и в результате небольшого, но массированного и регулярного поступления из автомобильных выхлопных газов. Оксиды азота относятся к плохо сорбируемым веществам. [3]
Угарный газ (оксид углерода), также относящийся к плохо сорбируемым и токсичным веществам, представляет собой сложный объект очистки, требующий наличия соответствующего низкотемпературного катализатора и отсутствия влаги в воздухе. [3]

Рисунок 1. Классификация методов очистки газов от газообразных и парообразных вредных веществ
Абсорбция — это процесс поглощения целевого компонента из газовой или парогазовой смеси специально подобранным жидким поглотителем – абсорбентом. Для физической абсорбции на практике используют воду, органические растворители, не вступающие в реакцию с извлекаемым газом, а также водные растворы этих веществ. Метод очистки подбирается исходя из концентрации извлекаемого компонента в отработанных газах, объема и температуры газа, содержания примесей, наличия хемосорбентов, возможности использования продуктов рекуперации, требуемой степени очистки. Выбор производят на основании технико-экономических расчетов.
Адсорбция – это концентрирование веществ на поверхности или в объеме твердого тела. В процессе адсорбции участвуют как минимум два компонента. Адсорбционные методы очистки газов используют для удаления из них газообразных и парообразных примесей. Данные методы основаны на поглощении примесей пористыми телами-адсорбентами. Процессы очистки проводят в периодических или непрерывных адсорберах.
Каталитические методы очистки газов основаны на реакциях в присутствии твердых катализаторов. В результате каталитической реакции примеси, находящиеся в газе, превращаются в другие соединения, то есть не извлекаются из газа, а трансформируются в другие безвредные соединения. Каталитическая очистка применяется при очистке газов от оксидов азота, серы, углерода, органических соединений и примесей.
Термический метод очистки газов основан на способности горючих токсичных компонентов окисляться до менее токсичных при наличии свободного кислорода и высокой температуры газовой смеси. Этот метод применяется в случаях, когда объемы выбросов велики, а концентрация загрязняющих веществ превышает 300 млн-1 г/м3.
Метод конденсации основан на снижении давления насыщенного пара растворителя при пониженной температуре. Смесь паров растворителя предварительно охлаждают в теплообменнике с последующей конденсацией.
Метод компримирования (сжатие газа компрессором для сжижения с целью получения различных веществ, содержащихся в нем), базируется на том же явлении что и метод конденсации, но применительно к парам растворителей, находящимся под избыточным давлением [4].

Рисунок 2. Классификация технических средств для очистки отработанного воздуха
Выбор метода фильтрации и технических средств для его осуществления зависит от дисперсного состава пылевых частиц:
- при размере частиц от 40 до 1000 мкм используют пылеосадительные камеры;
- при размере частиц от 20 до 1000 мкм используют циклоны от 1 до 2 м;
- при размере частиц от 5 до 1000 мкм используют циклоны 1м;
- при размере частиц от 20 до 100 мкм используют скрубберы;
- при размере частиц от 0,9 до 1000 мкм используют тканевые фильтры;
- при размере частиц от 0,01 до 10 мкм используют электрофильтры [4].

Рисунок 3. Внешний вид трехкамерного сорбционно- каталитического фильтра

Рисунок 4. Схема трехкамерного сорбционно-каталитического фильтра:
1 – корпус фильтра, 2 – поддерживающие сетки, 3 – слой шихты катализатора, 4 – слой шихты осушителя, 5 – слой шихты химпоглотителя, 6 – выходной патрубок, 7 – входной патрубок

а б в
Рисунок 5. Применяемые сорбенты и катализаторы
а – химпоглотитель, б – осушитель, в – катализатор
На рис.1 представлен внешний вид, а на рис. 2 - схема устройства трёхкамерного сорбционно-каталитического фильтра для очистки оборотного воздуха герметичного помещения. Это устройство позволяет удалять из оборотного воздуха газообразные аммиак, сероводород и меркаптаны, а также некоторые органические вещества и углекислый газ. Устройство содержит три последовательно расположенные сорбционные камеры. Замена отработанных сорбционных материалов производится через люки передней стенки фильтра, что исключает его демонтаж при эксплуатации и полной замене фильтрующего оборудования. [6]
Комбинация сорбционных и каталитических материалов (изображенных на рис. 3) в фильтре может быть легко изменена для решения различных задач очистки.
Применение многоступенчатой системы очистки, включающей несколько аппаратов, соединенных друг с другом последовательно, приводит к увеличению аэродинамического сопротивления системы вентиляции, а, следовательно, и увеличению энергоемкости.
Существуют устройства, позволяющие улавливать многокомпонентные примеси и пыль дисперсного состава в одном аппарате, позволяющие повысить эффективность очистки и одновременно существенно снизить энергозатраты и металлоемкость (рис. 4, 5) [7].
Устройство по очистке вентиляционных выбросов (рис. 4), содержащих многокомпонентные примеси, содержит корпус 1, барабанный фильтрующий элемент в виде барабанов 2, камеру регенераций 3 с сегментными перегородками 4. Корпус 1 в средней части разделен вертикальными газонепроницаемыми перегородками 5, делящими корпус на отдельные отсеки. Барабаны 2 снабжены перфорированной стенкой 6, покрытой фильтрующим материалом 7. Смежные стенки 8 барабанов выполнены глухими, установлены с зазором 9 и соединены между собой цилиндрической вставкой 10. Полости барабанов 2, примыкающих к перегородке 5 сообщены между собой трубчатой вставкой 11. [8]

Рисунок 6. Устройство для очистки газовых выбросов, содержащих многокомпонентные смеси
Устройство работает следующим образом. При включении привода 15 вращаются барабаны 2, что обеспечивает смачивание фильтрующего материала 7 сепарирующими жидкостями.
Загрязненный газ поступает через входной патрубок 12 внутрь крайнего барабана 2, фильтруется от одной примеси и направляется ко второму барабану, пересекает его фильтрующий материал и попадает внутрь этого барабана, освобождаясь от другой примеси. Далее газ через трубчатую вставку 11 входит в полость третьего барабана, где очищается от третьей примеси. Проходя через фильтрующий материал последнего барабана, очищается от четвертой примеси и по патрубку 13 поступает в атмосферу. Отсеки 16 заполнены разными регенерирующими жидкостями. Например, для улавливания паров аммиака можно применять воду, которую после насыщения аммиаком можно удалять из аппарата через патрубки 18 и использовать в сельском хозяйстве в качестве удобрения.
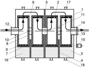
Для очистки пылевых выбросов от пыли разного дисперсного состава предлагается пылеуловитель (рис. 7) [9]. Данное устройство включает циклон 1 и фильтр с насадкой 2, выполненный из синтетических волокнистых жгутов, закрепленных между верхней решеткой 4 и нижней решеткой 5. С целью повышения эффективности очистки предусмотрена полусфера 9, размещенная в центре патрубка 7, прикрепленного к воронке 6 и снабженного кольцевым пригрузом 8.
При работе аппарата полусфера 9 вместе с решеткой 5 и штангой 10 поднимается вверх, синтетические жгуты уплотняются. Фиксация нижней решетки в верхнем положении, в случае снижения расхода газа, обеспечивается магнитным устройством 11. В циклоне улавливается пыль размером 10 мкн и более. В слое жгута происходит улавливания высокодисперсной пыли. Через патрубок 15 очищенные газы поступают в атмосферу.
Регенерация синтетических волокон (нитей) происходит после прекращения подачи газа через патрубок 14, после чего решетка 5 перемещается вниз, нити распрямляются и от резкого встряхивания очищаются от пыли, которая падает вниз и скапливается в нижней части циклона.
Собранная пыль удаляется через патрубок 16.

Рисунок 7. Двухступенчатый пылеуловитель
Применение рассмотренных аппаратов в производстве позволяет снизить стоимость очистки, так как очистка выбросов от вредных веществ производится одним аппаратом вместо последовательной установки нескольких. При этом существенно сокращается площадь производственных помещений, занятая под газоочистные устройства.
В то же время, указанные конструкции не лишены недостатков. В частности, вносимое очистными устройствами аэродинамическое сопротивление увеличивает требуемую мощность вентиляционной установки, что ведет к повышенным затратам на электроэнергию.
С учетом вышеизложенного, считаем актуальным дальнейшие исследования по разработке новых высокоэффективных и экономичных конструкций очистных устройств с целью их широкого внедрения в производство. [8]





